CHLF型不锈钢轻型分段式多级泵
■ CHLF型不锈钢轻型分段式多级泵产品概述:
CHL,CHLK和CHLF(T)不锈钢轻型分段式多级泵采用了免修机械密封。泵的过流部件均采用不锈钢资料(304或316)制成,具有低噪音,耐轻腐蚀,外形漂亮、体积小、重量轻、运用寿命长等特色。
■ CHLF型不锈钢轻型分段式多级泵工作条件:
淡薄、洁净、不凝、不爆破、不含固体颗粒或纤维的液体。
液体温度: 常温型-15℃至+70℃
热水型+70℃至+110℃
环境温度:+40℃
运作压力:10巴
进口压力受运作压力约束
介质酸碱性:PH4~9
■ CHLF型不锈钢轻型分段式多级泵类型意义:

■ CHLF型不锈钢轻型分段式多级泵泵电机:
● 全封闭式风冷电机
● 铝壳
● 安全等级:IP55、密封等级:F
● 规范电压:50Hz:1×220-240V 3×220-240V 3×380-415V
■ CHLF型不锈钢轻型分段式多级泵运送介质:
● 淡薄、清洁、不含固体颗粒或纤维的非易燃易爆液体。
● 多级泵能够运送比如矿泉水、软化水、纯水、清油和其他轻化工介质。
● 当运送液体的密度或粘度大于水,如需求,有必要配用大功率电机。
● 多级泵是否适用于某一特定液体由多种要素决议,其间*重要的是氯含量、PH值、温度和溶剂、油的含量等。
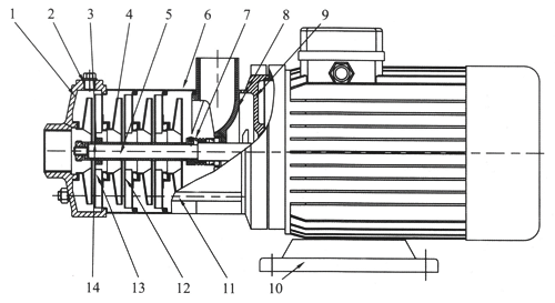
■ CHLF型不锈钢轻型分段式多级泵结构图:

序号 | 称号 | 资料 | AISI/ASTM | 序号 | 称号 | 资料 | AISI/ASTM |
2 | 堵头 | 不锈钢 | AISI304 | 3 | 轴承 | 碳化钨 | |
4 | 叶轮 | 不锈钢 | AISI304 | 5 | 轴 | 不锈钢 | AISI304 |
6 | 出水导叶 | 不锈钢 | AISI304 | 8 | 机械密封 | ||
9 | 电机端盖 | 铝合金 | 10 | 底座 | 铸铁 | ASTM25B | |
11 | 拉杆 | 不锈钢 | AISI304 | 12 | 导叶 | 不锈钢 | AISI304 |
13 | 支撑导叶 | 不锈钢 | AISI304 | 14 | 叶轮隔套 | 不锈钢 | AISI304 |
1 | 进水体 | 不锈钢 | AISI304 | 7 | 出水体 | 不锈钢 | AISI304 |
1 | 进水体 | 铸铁 | ASTM25B | 7 | 出水体 | 铸铁 | ASTM25B |
■ CHLF型不锈钢轻型分段式多级泵产品用途:
CHL,CHLK和CHLF(T)型不锈钢轻型分段式多级泵首要用于家庭型中央空调循环及工业上液体的传输。如脱矿物质水、软水、净化体系、轻油等的循环和增压。
1)小型中央空调循环
2)冷却体系
3)工业清洗
4)水处理(水的净化)
5)水产饲养
6)上肥/计量体系
7)环境应用
■ CHLF型不锈钢轻型分段式多级泵性能参数:
类型 | 扬程(m) | 流量(m3/h) | 电机功率(KW) | 转速(r/min) |
CHL2-20 | 14 | 2 | 0.37 | 2900 |
CHL2-30 | 21 | 2 | 0.55 | 2900 |
CHL2-40 | 28 | 2 | 0.55 | 2900 |
CHL2-50 | 35 | 2 | 0.55 | 2900 |
CHL2-60 | 42 | 2 | 0.75 | 2900 |
CHL4-20 | 15 | 4 | 0.55 | 2900 |
CHL4-30 | 22 | 4 | 0.75 | 2900 |
CHL4-40 | 30 | 4 | 0.75 | 2900 |
CHL8-10 | 8.5 | 8 | 0.75 | 2900 |
CHL8-20 | 17 | 8 | 0.75 | 2900 |
CHL8-30 | 25.5 | 8 | 1.1 | 2900 |
CHL8-40 | 34 | 8 | 1.5 | 2900 |
CHL8-50 | 42.5 | 8 | 2.2 | 2900 |
CHL12-10 | 9.5 | 12 | 0.75 | 2900 |
CHL12-20 | 19.5 | 12 | 1.2 | 2900 |
CHL12-30 | 29.5 | 12 | 1.8 | 2900 |
CHL12-40 | 39.5 | 12 | 2.4 | 2900 |
CHL12-50 | 50 | 12 | 3 | 2900 |
CHL16-10 | 10 | 16 | 1.1 | 2900 |
CHL16-20 | 21 | 16 | 2.2 | 2900 |
CHL16-30 | 32 | 16 | 3 | 2900 |
CHL20-10 | 9.5 | 20 | 1.1 | 2900 |
CHL20-20 | 21 | 20 | 2.2 | 2900 |
CHL20-30 | 33 | 20 | 4 | 2900 |
CHLF(T)2-20 | 14 | 2 | 0.37 | 2900 |
CHLF(T)2-30 | 21 | 2 | 0.55 | 2900 |
CHLF(T)2-40 | 28 | 2 | 0.55 | 2900 |
CHLF(T)2-50 | 35 | 2 | 0.55 | 2900 |
CHLF(T)2-60 | 42 | 2 | 0.75 | 2900 |
CHLF(T)4-20 | 15 | 4 | 0.55 | 2900 |
CHLF(T)4-30 | 22 | 4 | 0.55 | 2900 |
CHLF(T)4-40 | 30 | 4 | 0.75 | 2900 |
CHLF(T)4-50 | 38 | 4 | 1.1 | 2900 |
CHLF(T)4-60 | 45 | 4 | 1.1 | 2900 |
CHLF(T)8-10 | 8.5 | 8 | 0.75 | 2900 |
CHLF(T)8-20 | 17 | 8 | 0.75 | 2900 |
CHLF(T)8-30 | 25.5 | 8 | 1.1 | 2900 |
CHLF(T)8-40 | 34 | 8 | 1.5 | 2900 |
CHLF(T)8-50 | 42.5 | 8 | 2.2 | 2900 |
CHLF(T)12-10 | 9.5 | 12 | 0.75 | 2900 |
CHLF(T)12-20 | 19.5 | 12 | 1.2 | 2900 |
CHLF(T)12-30 | 29.5 | 12 | 1.8 | 2900 |
CHLF(T)12-40 | 39.5 | 12 | 2.4 | 2900 |
CHLF(T)12-50 | 50 | 12 | 3 | 2900 |
CHLF(T)16-10 | 10 | 16 | 1.1 | 2900 |
CHLF(T)16-20 |
公司优势
研发与创新
设计师定期收集市场需求,不断优化产品,已具备10余项产品研发技术专利,新产品具备强大市场竞争力。设计团队可上门测量,与客户深入沟通需求,科学出具产品定制方案,依据不同需求,个性定制。
生产与供货
自有标准化生产厂房及仓库,拥有完备自动化生产线,生产团队10年以上工龄,成熟的生产技艺确保品质。常规原材常备库存,下单即可生产,生产过程遵循国际标准,所有定制品,承诺按照合同交货期供货。
安装与验收
固定安装班底现场快速安装到位,严按标准施工安装,出厂前进行严格检查,确保安全。
安装现场,客户可自行针对产品进行全方位测验,以保障顺利交付。 热品推荐
|